QR code
Products
Nobis loquere


Fax
+86-574-87168065

E-mail

Oratio
Luotuo Industrial Area, Zhenhai District, Ningbo urbs, China
Si machina gravia curris, sicut ferrum volvens mola quae metalla omnia transpositio, grues tons materialium tollentes, aut fodienda vasa quae pulvis et pressura subterranei proeliantur, copulatione indigere quae te non dimittam. Quod prorsus est quod Raydafon est SWC-BH Standard Flex Welding Type Universal Coupling aedificatur pro: certo torque transmissio, etiam cum officium asperum accipit.
Primum de consilio eius fama est. Iugum iuncta in pluma non modo est-mutator lusus est. Dissimiles iugis serae quae per tempus solvere possunt, huius iunctae solidae sunt, sic periculum partium non est solvendum cum machina tua laborat. Et aptat etiam extensiones setups cum diametris gyrationis ab 180mm ad 620mm — nulla optio unius amplitudinis vicium quaerendi. Ut vexillum flexa coniunctio universalis, usque ad XV gradus misalignment angularis tractat, quod significat si spicula tua non perfecte instruxit (et sint reales, raro sunt), adhuc potentiam movendi servat. Etiam Aureus cum 1250 kN·m - gravem potestatem ferit, stabilis, nullae balbutientes, nullae guttae manent.
Materias saltare non potuimus. Hoc factum est cum 35CrMo chalybe-supellec- tibus vi resistens, etiam cum circumactus est in cuniculo vel prope molam volubilem calefactam. Plus acus gestus subtiliter subiciamus, levia movet, frictiones succidit, et diutius quam vilis commissuras durat. Id est cur itura sit ad coniunctiones universales pro gravibus machinationibus—non solum per aliquot septimanas laboratur; haeret in circuitu, retinens apparatum tuum currit. Et si necessitas industriae applicationum universalium iuncturarum iuncta est? Hoc est - consilium iuncta vibratione tractat et innixi melius quam alterum claudebatur, ut minus temporis figendi et temporis laboris impendas.
Has in Sinis Raydafon facimus, sed angulis qualitatis non secamus. Omnis gradus sequitur ISO 9001 signa, ferrum reprimimus, nos weldis inspicimus, gestus probamus-ita scis te comparare copulationem quae regulas qualitates globalis obviat. Et si tua parum diversa habeat? Morem tweaks facimus – accommodare magnitudinem, vel speciem – quicquid opus est ut idoneus facias. Optima pars? Non est pretium ut pars luxuriae. Duram universalem coniunctionem accipis, quae duram operatur, sine fortunae solutione. Quisquis enim tempus praestare non potest, haec coniunctio SWC-BH est genus certae partis quae machinam tuam movens, die ac die egreditur.
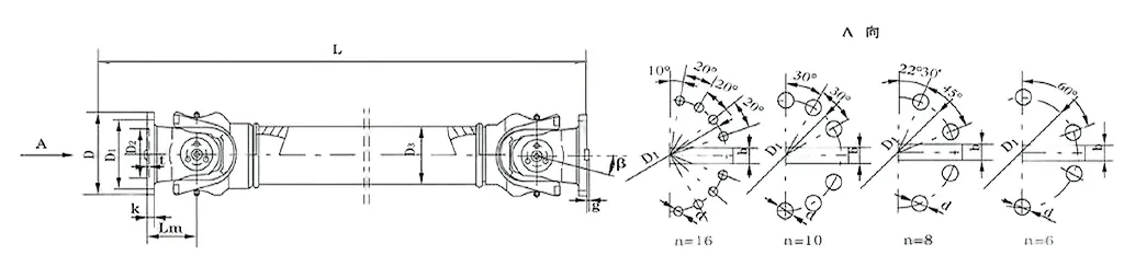
| Nec. | Gyratio diametri D mm | Nominal torque Tn KN·m | Axes complicare angulus β (°) | torque taedet Tf KN·m | Magnitudo (mm) | Rotating inertiae kg.m2 | Pondus (kg) | |||||||||||
| Lmin | D1 (js11) | D2 (H7) | D3 | Lm | n-d* | k | t | b (h9) | g | Lmin | Auge 100mm | Lmin | Auge 100mm | |||||
| SWC100WH | 100 | 1.25 | 0.63 | 25° | 243 | 84 | 57 | 60 | 55 | 6-9 | 7 | 2.5 | - | - | 0.0039 | 0.00019 | 4.5 | 0.35 |
| SWC120WH | 120 | 2.5 | 1.25 | 25° | 307 | 102 | 75 | 70 | 65 | 8-11 | 8 | 2.5 | - | - | 0.0096 | 0.00044 | 7.7 | 0.55 |
| SWC150WH | 150 | 5 | 25 | 25° | 350 | 130 | 90 | 89 | 80 | 8-13 | 10 | 3 | - | - | 0.371 | 0.00157 | 18 | 24.5 |
| SWC180WH | 180 | 12.5 | 6.3 | 25° | 180 | 155 | 105 | 114 | 110 | 8-17 | 17 | 5 | - | - | 0.15 | 0.007 | 48 | 2.8 |
| SWC225WH | 225 | 40 | 20 | 15° | 520 | 196 | 135 | 152 | 120 | 8-17 | 20 | 5 | 32 | 9 | 0.365 | 0.0234 | 78 | 4.9 |
| SWC250WH | 250 | 63 | 31.5 | 15° | 620 | 218 | 150 | 168 | 140 | 8-19 | 25 | 6 | 40 | 12.5 | 0.817 | 0.0277 | 124 | 5.3 |
| SWC285WH | 285 | 90 | 45 | 15° | 720 | 245 | 170 | 194 | 160 | 8-21 | 27 | 7 | 40 | 15 | 1.756 | 0.051 | 185 | 6.3 |
| SWC315WH | 315 | 125 | 63 | 15° | 805 | 280 | 185 | 219 | 219 | 10-23 | 32 | 8 | 40 | 15 | 2.893 | 0.0795 | 262 | 8 |
| SWC350WH | 350 | 180 | 90 | 15° | 875 | 310 | 210 | 267 | 194 | 10-23 | 35 | 8 | 50 | 16 | 5.013 | 0.2219 | 374 | 15 |
| SWC390WH | 390 | 250 | 125 | 15° | 955 | 345 | 235 | 267 | 215 | 10-25 | 40 | 8 | 70 | 18 | 8.406 | 0.2219 | 506 | 15 |
| SWC440WH | 440 | 355 | 180 | 15° | 1155 | 390 | 255 | 325 | 260 | 16-28 | 42 | 10 | 80 | 20 | 15.79 | 0.4744 | 790 | 21.7 |
| SWC490WH | 490 | 500 | 250 | 15° | 1205 | 435 | 275 | 325 | 270 | 16-31 | 47 | 12 | 90 | 22.5 | 26.54 | 0.4744 | 1014 | 21.7 |
| SWC550WH | 550 | 710 | 355 | 15° | 1355 | 492 | 320 | 426 | 325 | 16-31 | 50 | 12 | 100 | 22.5 | 48.32 | 1.357 | 1526 | 34 |
Si fessus es negotia cum fusione rerum quae opus tuum retardare aut frangere cum maxime opus est, Raydafon's SWC-WH Sine Flex Welding Type Universalis Copulatio lusus-mutator est. Cum perks refertum est, quod summum vagum facito cuivis lenis torques transmissio in systemata mechanica indigens--nulla vestigia glutino confundens, solum solida effectus, quae ius in tuo labore fluit, convenit.
Primum, insertis hac re facilior est via quam putes. Coniunctiones dissimiles iunctae quae extra instrumenta adfers vel in welds ad occidendum te cogunt, SWC-WH obice consilio utitur. Potes id slot in setup exsistens ieiunium tuum, et cum tempus est ad victum? Separata aura est, ut machinae industriae tuae minus temporis vacent. Ideo talis est summus torques communis iuncturae magnae versatilis, capitis dolores nullos, modo ingredi, fige quod debes, et ad laborem redire.
Diuturnitatem sapientissime aedificatam est ut eam ex difficili. Materiae graves officiorum utimur quae magna onera tractamus et constantes vibrationes sine trepidatione perficimus ad locorum industrialium negotiorum ubi apparatus numquam vere intermissum accipit. Et quia glutino nullus est, non curandum est de infirmis locis quae pop sursum sunt in tempore consumpta. Haec copulatio non est quae singulis mensibus paucis opus erit; certum est iuncturam universam coniunctionem machinae industriae quae circum haeret, tuas res stabilis servans.
Misalignments? Nullam consequat. SAGITTA numquam perfecte instruxit, praesertim in systematibus autocinetis vel translationibus, sed SWC-WH tractat angularis, axiales et deviationes radiales sicut pro. Sagittae genus impulsio est iuncturae iuncturae universalis quae potentiam movendi aequaliter servat, etiam cum alignment wonkys—non iactationes, nullae guttae, iusta perficientur convenientia.
Sumptus et fama. Welding extra laborem et mercedibus materialibus addit, sed haec coniunctio omnia praetermittit. Productum qualitatem sine overspendendo possides, quod magnum est cuilibet budget conciliare. Etiam in locis captiosis ut marinae paroeciae, ubi corrosio assidua est comminatio, certum iuncturam iuncturae marinae universalis, lenta contra aquam salsam, peram facilem tenet.
Si vis renovabilis es, haec coniunctio etiam in ius convenit. Solidum est iuncturae universalis coniunctio pro renovatione instrumentorum energiae quae potentiam efficienter moveat, cum vix omni vastitate. Plus, lux est, ideo systema tuum non gravet-magna ad custodienda quae currit sustineri sine immolatione.
Apud Raydafon, copulationes vendimus non modo - facimus aptas necessitates tuas. SWC-WH est vestibulum, sic exacte operatur quomodo vis eam. Si curiosus es quomodo operationes tuas leviores facere potest, modo nostras turmas ferire. Te per eam ambulabimus, nulla lingua — modo recte loqui quid tibi copulatio haec possit.
Raydafon est SWC-WH Sine Flex Welding Typus Universalis Copulatio opera fundamentalia noverunt-quomodo de iuncturae mechanica cardani-sed id velimus durius pro negotiis industrialibus ferire. Totum punctum? Aureum molliter move inter hastilia quae non perfecte instruxit, etiam cum in angulo sunt. Proposito SWC cardan hastili universalis iuncturae coniunctionis constructae, in medio crucis informibus utitur ut potentiae rotationis stabilis fluens servetur—quare talis iturus est summus torques universalis coniunctio iuncturae ad opus durum sicut mola volventia vel machinae levandae.
nucleum frangamus quomodo agit: sunt duo iuga bifida, et media cruce cohaerent (araneam vocamus). Hoc setup permittit iugis cardo in plures directiones, etiam si sagittae ab usque ad 25° (id est angulus angulus maxillae eius), torques tamen aequaliter pertransiit. Speciem remittere quae etiam obtinuit: diametri gyrationis ab φ58 ad φ620 vagantur, et torquem nominalem ab 0.15 ad 1000 kN·m tractat. Cum eo uteris ut gravi officio universali iuncturae coniunctionis ad molas volvendas operationes, hoc consilium significat input gyrationis motum in output sine Crispi vertitur - cardo articulatos articulos suos ad constituendum pro misalignments, sine interpellationibus.
Quid facit materia pars "sine glutino flexo"? Connexiones ob saeptas vel coagmentatas telas involvimus. Imbecillis temporis maculae welds esse possunt, sed hae fasteners in periculos defectus concidunt—faciuntque modo faciliorem coniunctionem efficiunt. Haec coniunctio industrialis universalis coniunctio etiam caput furca upgraded consilium habet, quod seras claudit ab emissione, eiusque vires structuris ab 30%-50% boosting. Multum est id postulare maculas sicut fodinae vel situs constructionis, ubi agit perdurans SWC iuncturam iuncturam universae - sustinens sub oneribus oneribus sine datione.
Efficacia alia hic conciliare est: attingit ad efficientiam transmissionis 98.6%. Omnem partem machinati sumus in frictioni et industria vastationis excidere — ideo non mirum est iuncturam universalem efficientem magnae potentiae transmissionis in magna potentia industrialis setups. Et quiescit: plerumque 30-40 dB(A). Id gratias agit de motu aequabili et in vibratione damping aedificato-faciens illam coniunctionem iuncturam universalem cum strepitu locorum in quibus problema est strepitus. Plus energiae deprimit impensas, sic capsulam energiae conservandae coniunctionis universalis coniunctio necessarias etiam coercet.
In gravi machinatione universali iuncturae systematum iuncturae hoc maxime refert: SWC-WH copias per omnes suas partes aequaliter expandit. Nulla pars una nimium contentionem accipit, quod significat naufragia et vitam longiorem pauciores. Apud Raydafon non solum hanc copulam specs obviam construimus — sartor ad officium tuum laborandum est, sive illa machinula aspera gravia sive speciales industriales setups. Si vis eam incidere ut systema tuum levius aut diutius durare, modo cum nostris colloquiis colloquia facere — adiuvabimus te habebis paroecialem apta prorsus quae tibi opus est.
⭐⭐⭐⭐⭐ Zhang Wei, Mechanica ipsum, Beijing Industrial Machinery Co., Ltd.
Habuimus Raydafon SWC-WH Sine Flex Welding Type Universalis Copulatio in instrumento productionis per paucos menses nunc, et stabilis patrator fuit-praesertim cum machinas nostras ad alta onera tractamus. Quod vere aestimo, robustum est aedificare: etiam in longis, ubi aliae partes titubantes poscentes vices, haec coniunctio lubrica servat, nullae temere vibrationes, nullae repentinae delicta quae totam aciem abiciunt.
aura quoque instruitur. Manipulus noster horas complexus gradus manere non debuit; cito conscendit et non habuimus quod illud velimus. Calces enim gravis officiorum sicut nostra, fides et qualitas non negotiabilia sunt, et haec copulatio utrumque cistas cohibet. Raydafon probatum est se esse socium quem hic numerare possumus – vere laeti sumus quo modo huius producti sustinetur.
⭐⭐⭐⭐⭐ John Smith, Plant Manager, Florida Manufacturing, USA
Raydafoni SWC-WH copulationem in usu posui in facultate nostra Florida paucis post mensibus, et prorsus quod nobis opus fuit, simplex, non-fuss, et constanter efficax fuit. Potentia transmissionis stabilis manet, quae clavis est ad productionem nostram in pace retinendam, et ad victum semel tangere non habuimus. Magnum est id nobis vincere; minus temporis determinatio partium significat plus temporis questus opus.
Etiam cum machinas difficile currimus, sub alta vis, haec copulatio non cessat-is modo pergit. Probe quoqne instruitur ; techs nostri nullo tempore statuerant. Et cum rationabili pretio paris ut perficias? Valor solidus est. Plus, auxilium Raydafon erat top-notch cum celerem quaestionem habuimus-regressi nobis celeriter sunt. Sine dubio linea producta in usu servabimus.
⭐⭐⭐⭐⭐ Roberto Silva, Directori Operationum, São Paulo Solutions Engineering, Brazil
Cum Raydafon aliquandiu communicavimus, sed eorum SWC-WH Sine copulatio flex re in nostris operationibus exstitit, tempus et iterum probatum est. Primum quod vides, solida est eius constructio; structum esse sentit, idque ad certas machinationes nostras traducendas.
Priusquam hanc copulam commutaremus, crebris temporis intervallis a misalignment quaestiones tractabamus et praemature in veteribus nostris partibus degeremus. Nunc? Istae quaestiones sunt. Via nostra downtime incidit, quod ingens boost pro fructibus fuit. Et institutionem? Super facilis-comites nostri tempus sollicitudin ante non tempus terere. Nam quaelibet societas quae potentiae transmissionis partes indiget quibus confidere possunt, huius est sine brainer. Omnino id suadeo.
⭐⭐⭐⭐⭐ Peter Müller, Supervisor Technical, Stuttgart Vestibulum GmbH, Germany
Raydafon in SWC-WH coitu fuimus in facultate productionis nostrae Stuttgart per sex menses, et sine culpa - serio, non una totius temporis causa. Propositum suum consilium est, quod facit cinciam institutionem; turma nostra aptata et parata nullo tempore ingredi potuit, nullis perplexis gradibus vel instrumentorum specialibus necessariis.
Quod me quidem inculcet, quale sit. glutino mundus est et fortis, et materies gradum altum sentiunt—indicare potes se angulos non incidere. Sub regulari usu perfecte eam tenuit, ostendens nulla signa deferre etiam post menses continuae operationis. Plus quam felix sumus quo facto hoc opus est, et iam in indice nostro est pro futuris inceptis utendi.
Oratio
Luotuo Industrial Area, Zhenhai District, Ningbo urbs, China
Tel


+86-574-87168065


Luotuo Industrial Area, Zhenhai District, Ningbo urbs, China
Copyright © Raydafon Technology Group Co.,Limited All Rights Reserved.
Links | Sitemap | RSS | XML | Privacy Policy |
